质量分为动态质量和静态质量,如下所示。
{ 静态质量 运动质量 { 负载质量 附件质量 活塞杆质量 \begin{aligned}
\left \{
\begin{matrix}
静态质量&\\\\
运动质量&
\left \{
\begin{matrix}
负载质量\\\\
附件质量\\\\
活塞杆质量
\end{matrix}
\right.
\end{matrix}
\right.
\end{aligned}
⎩ ⎪ ⎪ ⎪ ⎪ ⎪ ⎪ ⎪ ⎪ ⎪ ⎨ ⎪ ⎪ ⎪ ⎪ ⎪ ⎪ ⎪ ⎪ ⎪ ⎧ 静 态 质 量 运 动 质 量 ⎩ ⎪ ⎪ ⎪ ⎪ ⎪ ⎨ ⎪ ⎪ ⎪ ⎪ ⎪ ⎧ 负 载 质 量 附 件 质 量 活 塞 杆 质 量
*静态质量 :主要为簧上质量或没有Preload系统中的所有簧上及簧下质量,运动过程中仅需要克服重力即可,不需要考虑提供额外的加速度,但需要考虑与加载方向的夹角,在Preload系统中,可设为0静态质量。
*负载质量 :主要的运动质量,且需要考虑运动方向与作动器加载方向的夹角(如Hexapod)。
*附件质量 :主要为球铰等附件质量,由于始终与作动器同向,因此不受运动方向与作动器加载方向的夹角影响。
*活塞杆质量 :属于运动质量,由作动器的规格确定,不需要额外设定,由于始终与作动器同向,因此不受运动方向与作动器加载方向的夹角影响。
作动器运行过程中,包含压力特性和流量特性,其中压力变换过程从供油端P S u p p l y P_{Supply}P S u p p l y 经伺服阀进行控制形成压降P V P_{V}P V ,最终进入到作动器AB腔体形成P A P_{A}P A (Actuator),执行端作动器及最终回油P R e t u r n P_{Return}P R e t u r n 。
P S u p p l y − P S t a t i c = P V + P A + P R e t u r n = P e (1) \tag{1}
P_{Supply}-P_{Static}=P_{V}+P_{A}+P_{Return}=P_e
P S u p p l y − P S t a t i c = P V + P A + P R e t u r n = P e ( 1 )
其中P S u p p l y P_{Supply}P S u p p l y 扣除静态质量所需的压差力P S t a t i c P_{Static}P S t a t i c ,并得到可提供系统运动所需的系统供油压力P e P_{e}P e 。
压力油主要与作动器(活塞面积A AA )推动的运动质量m mm 、运动阻尼C CC 、以及运动质量的刚度K KK 相关,列运动平衡方程:
P A ⋅ A = m x ¨ + C x ˙ + K x (2) \tag{2}
P_A\cdot A =m\ddot{x} +C\dot{x} +Kx
P A ⋅ A = m x ¨ + C x ˙ + K x ( 2 )
而流量遵循流量守恒,流入作动器的总流量等于流经伺服阀的流量,且都小于油源及蓄能器的总供油能力。
Q A = Q V a l v e ≤ Q S u p p l y Q_A =Q_{Valve} \le Q_{Supply}
Q A = Q V a l v e ≤ Q S u p p l y
流入作动器流量包含两部分:推动作动器运动的流量及由于液压油压缩需要流入的流量,列流量平衡方程:
Q A = V t 4 β e P A ˙ + A ⋅ x ˙ (3) \tag{3}
Q_A=\frac{V_t}{4\beta_e}\dot{P_A}+A\cdot \dot{x}
Q A = 4 β e V t P A ˙ + A ⋅ x ˙ ( 3 )
上述流体压缩流量计算推导参见式(19)的推导过程。
综合流量及压力平衡方程得到:
⇒ { P A ⋅ A = m x ¨ + C x ˙ + K x Q A = V t 4 β e P A ˙ + A ⋅ x ˙ (4) \Rightarrow \tag{4}
\left \{
\begin{matrix}
P_A\cdot A =m\ddot{x} +C\dot{x} +Kx \\
Q_A=\cfrac{V_t}{4\beta_e}\dot{P_A}+A\cdot\dot{x}
\end{matrix}
\right.
⇒ ⎩ ⎪ ⎨ ⎪ ⎧ P A ⋅ A = m x ¨ + C x ˙ + K x Q A = 4 β e V t P A ˙ + A ⋅ x ˙ ( 4 )
对上式取拉式变换并整理得到运动x xx 与压力P A P_AP A 和流量Q A Q_AQ A 的频响关系
⇒ { P A ( s ) = 1 A ( m s 2 + C s + K ) X ( s ) Q A ( s ) = V t 4 β e P A ( s ) s + A X ( s ) s (4.1) \tag{4.1}
\Rightarrow
\left \{
\begin{matrix}
P_A(s)=\cfrac{1}{A}(ms^2+Cs+K)X(s) \\
Q_A(s)=\cfrac{V_t}{4\beta_e}P_A(s)s+A X(s)s
\end{matrix}
\right.
⇒ ⎩ ⎪ ⎪ ⎪ ⎨ ⎪ ⎪ ⎪ ⎧ P A ( s ) = A 1 ( m s 2 + C s + K ) X ( s ) Q A ( s ) = 4 β e V t P A ( s ) s + A X ( s ) s ( 4 . 1 )
⇒ { P A ( s ) X ( s ) = 1 A ( m s 2 + C s + K ) Q A ( s ) X ( s ) = V t 4 β e A ( m s 2 + C s + K ) s + A ⋅ s \Rightarrow
\left \{
\begin{matrix}
\cfrac{P_A(s)}{X(s)} =\cfrac{1}{A}(ms^2+Cs+K)\\
\cfrac{Q_A(s)}{X(s)}=\cfrac{V_t}{4\beta_e A}(ms^2+Cs+K)s+A\cdot s
\end{matrix}
\right.
⇒ ⎩ ⎪ ⎪ ⎪ ⎨ ⎪ ⎪ ⎪ ⎧ X ( s ) P A ( s ) = A 1 ( m s 2 + C s + K ) X ( s ) Q A ( s ) = 4 β e A V t ( m s 2 + C s + K ) s + A ⋅ s
⇒ { P A ( s ) X ( s ) = 1 A ( m s 2 + C s + K ) Q A ( s ) X ( s ) = V t 4 β e A m s 3 + V t 4 β e A C s 2 + V t 4 β e A K s + A ⋅ s (5) \Rightarrow \tag{5}
\left \{
\begin{matrix}
\cfrac{P_A(s)}{X(s)} =\cfrac{1}{A}(ms^2+Cs+K)\\
\cfrac{Q_A(s)}{X(s)}=\cfrac{V_t}{4\beta_e A}ms^3
+\cfrac{V_t}{4\beta_e A}Cs^2
+\cfrac{V_t}{4\beta_e A}Ks
+A\cdot s
\end{matrix}
\right.
⇒ ⎩ ⎪ ⎪ ⎪ ⎨ ⎪ ⎪ ⎪ ⎧ X ( s ) P A ( s ) = A 1 ( m s 2 + C s + K ) X ( s ) Q A ( s ) = 4 β e A V t m s 3 + 4 β e A V t C s 2 + 4 β e A V t K s + A ⋅ s ( 5 )
根据上式,AB腔所需压差共需要克服三部分作用,与位移同相位的弹簧刚度作用P s r P_{sr}P s r ,与位移90°相位的阻尼力作用P v i P_{vi}P v i 、与位移180°相位的加速度所用P m a P_{ma}P m a ,如下图左半部分。
对应所需要的流量则与四部分相关(其中P A P_AP A 受三部分作用加上A AA 扫过的流量共同作用)。
对式(5)进一步变换,
{ P A ( ω j ) X ( ω j ) = 1 A ( m ( ω j ) 2 + C ω j + K ) Q V ( s ) X ( s ) = V t 4 β e A m ( ω j ) 3 + V t 4 β e A C ( ω j ) 2 + V t 4 β e A K ω j + A ⋅ ω j \begin{aligned}
\left \{
\begin{matrix}
\cfrac{P_A(\omega j)}{X(\omega j)} =\cfrac{1}{A}(m(\omega j)^2+C\omega j+K)\\
\cfrac{Q_V(s)}{X(s)} =\cfrac{V_t}{4\beta_e A}m(\omega j)^3
+\cfrac{V_t}{4\beta_e A}C(\omega j)^2
+\cfrac{V_t}{4\beta_e A}K\omega j
+A\cdot \omega j
\end{matrix}
\right.
\end{aligned}
⎩ ⎪ ⎪ ⎪ ⎨ ⎪ ⎪ ⎪ ⎧ X ( ω j ) P A ( ω j ) = A 1 ( m ( ω j ) 2 + C ω j + K ) X ( s ) Q V ( s ) = 4 β e A V t m ( ω j ) 3 + 4 β e A V t C ( ω j ) 2 + 4 β e A V t K ω j + A ⋅ ω j
假定在频率f ff 时,对应的角频率为ω = 2 π f \omega=2\pi fω = 2 π f ,振动位移幅值为x xx ,所需要的压力为:
⇒ { P A ( ω j ) X ( ω j ) = 1 A ( − m ω 2 + C ω j + K ) Q V ( ω j ) X ( ω j ) = − V t 4 β e A m ω 3 j − V t 4 β e A C ω 2 + V t 4 β e A K ω j + A ⋅ ω j \Rightarrow
\left \{
\begin{matrix}
\cfrac{P_A(\omega j)}{X(\omega j)} =\cfrac{1}{A}(-m\omega^2+C\omega j+K)\\
\cfrac{Q_V(\omega j)}{X(\omega j)}=\cfrac{-V_t}{4\beta_e A}m\omega^3 j
-\cfrac{V_t}{4\beta_e A}C\omega^2
+\cfrac{V_t}{4\beta_e A}K\omega j
+A\cdot \omega j
\end{matrix}
\right.
⇒ ⎩ ⎪ ⎪ ⎪ ⎨ ⎪ ⎪ ⎪ ⎧ X ( ω j ) P A ( ω j ) = A 1 ( − m ω 2 + C ω j + K ) X ( ω j ) Q V ( ω j ) = 4 β e A − V t m ω 3 j − 4 β e A V t C ω 2 + 4 β e A V t K ω j + A ⋅ ω j
⇒ { P A ( ω j ) X ( ω j ) = 1 A ( K − m ω 2 ) + ω C A j Q V ( ω j ) X ( ω j ) = − V t 4 β e A C ω 2 + ( A ⋅ ω − V t 4 β e A m ω 3 + V t 4 β e A K ω ) j \Rightarrow
\left \{
\begin{matrix}
\cfrac{P_A(\omega j)}{X(\omega j)} ={\color{red}\cfrac{1}{A}(K-m\omega^2)}
+{\color{blue}\cfrac{\omega C}{A}}j\\
\cfrac{Q_V(\omega j)}{X(\omega j)}={\color{red}-\cfrac{V_t}{4\beta_e A}C\omega^2 }+{\color{blue}(A\cdot\omega-\cfrac{V_t}{4\beta_e A}m\omega^3 +\cfrac{V_t}{4\beta_e A}K\omega)}j
\end{matrix}
\right.
⇒ ⎩ ⎪ ⎪ ⎪ ⎨ ⎪ ⎪ ⎪ ⎧ X ( ω j ) P A ( ω j ) = A 1 ( K − m ω 2 ) + A ω C j X ( ω j ) Q V ( ω j ) = − 4 β e A V t C ω 2 + ( A ⋅ ω − 4 β e A V t m ω 3 + 4 β e A V t K ω ) j
作动器推动负载进行正弦运动,当所需压力峰值幅值及流量幅值分别为:
⇒ { P A = 1 A ( K − m ω 2 ) X cos ( ω t ) + ω C A X sin ( ω t ) Q V = − V t 4 β e A C ω 2 X cos ( ω t ) + ( A ⋅ ω − V t 4 β e A m ω 3 + V t 4 β e A K ω ) X sin ( ω t ) (6) \tag{6}
\begin{aligned}
\Rightarrow
\left \{
\begin{matrix}
{P_A}=& {\color{red}\cfrac{1}{A}(K-m\omega^2)X}\cos(\omega t)
+{\color{blue}\cfrac{\omega C}{A}X}\sin(\omega t)\\
Q_V=& {\color{red}-\cfrac{V_t}{4\beta_e A}C\omega^2X }\cos(\omega t)+{\color{blue}(A\cdot\omega-\cfrac{V_t}{4\beta_e A}m\omega^3 +\cfrac{V_t}{4\beta_e A}K\omega)X}\sin(\omega t)
\end{matrix}
\right.
\end{aligned}
⇒ ⎩ ⎪ ⎪ ⎪ ⎨ ⎪ ⎪ ⎪ ⎧ P A = Q V = A 1 ( K − m ω 2 ) X cos ( ω t ) + A ω C X sin ( ω t ) − 4 β e A V t C ω 2 X cos ( ω t ) + ( A ⋅ ω − 4 β e A V t m ω 3 + 4 β e A V t K ω ) X sin ( ω t ) ( 6 )
其中X XX 为位移振动幅值,X = s t r o k e / 2 X=stroke/2X = s t r o k e / 2 :
{ P m a = − 1 A m ω 2 X P s r = 1 A K X P v i = 1 A ω C X j (6.1) \tag{6.1}
\begin{aligned}
\left \{
\begin{matrix}
P_{ma} =& -\cfrac{1}{A}m\omega^2X\\
P_{sr} =& \cfrac{1}{A}KX \\
P_{vi} =& \cfrac{1}{A}\omega CX j
\end{matrix}
\right.
\end{aligned}
⎩ ⎪ ⎪ ⎪ ⎪ ⎪ ⎪ ⎨ ⎪ ⎪ ⎪ ⎪ ⎪ ⎪ ⎧ P m a = P s r = P v i = − A 1 m ω 2 X A 1 K X A 1 ω C X j ( 6 . 1 )
{ Q p i s = A X ω j Q c m a = − V t 4 β e A m X ω 3 j = P m a V t 4 β e ω j Q c s r = V t 4 β e A K X ω j = P s r V t 4 β e ω j Q c v i = − V t 4 β e A C X ω 2 = P v i V t 4 β e ω j (6.2) \tag{6.2}
\begin{aligned}
\left \{
\begin{matrix}
Q_{pis} =& AX\omega j\\
Q_{cma} =& -\cfrac{V_t}{4\beta_e A}mX\omega^3j =P_{ma}\cfrac{V_t}{4\beta_e}\omega j\\
Q_{csr} =& \cfrac{V_t}{4\beta_e A} KX\omega j=P_{sr}\cfrac{V_t}{4\beta_e}\omega j\\
Q_{cvi} =& -\cfrac{V_t}{4\beta_e A}CX\omega^2 =P_{vi}\cfrac{V_t}{4\beta_e}\omega j
\end{matrix}
\right.
\end{aligned}
⎩ ⎪ ⎪ ⎪ ⎪ ⎪ ⎪ ⎪ ⎪ ⎪ ⎨ ⎪ ⎪ ⎪ ⎪ ⎪ ⎪ ⎪ ⎪ ⎪ ⎧ Q p i s = Q c m a = Q c s r = Q c v i = A X ω j − 4 β e A V t m X ω 3 j = P m a 4 β e V t ω j 4 β e A V t K X ω j = P s r 4 β e V t ω j − 4 β e A V t C X ω 2 = P v i 4 β e V t ω j ( 6 . 2 )
⇒ { P A = ( P m a + P s r ) cos ( ω t ) + P v i sin ( ω t ) Q V = − V t 4 β e ω ∣ P v i ∣ cos ( ω t ) + ( A ⋅ ω X − V t 4 β e ω ∣ P m a ∣ + V t 4 β e ω ∣ P s r ∣ ) sin ( ω t ) (6.3) \tag{6.3}
\begin{aligned}
\Rightarrow
\left \{
\begin{matrix}
{P_A}=& {\color{red}(P_{ma}+P_{sr})}\cos(\omega t)
+{\color{blue}P_{vi}}\sin(\omega t)\\
Q_V=& {\color{red}-\cfrac{V_t}{4\beta_e}\omega \left | P_{vi} \right | }\cos(\omega t)
+{\color{blue}(A\cdot\omega X-\cfrac{V_t}{4\beta_e}\omega \left | P_{ma} \right |
+\cfrac{V_t}{4\beta_e }\omega \left | P_{sr} \right |)}\sin(\omega t)
\end{matrix}
\right.
\end{aligned}
⇒ ⎩ ⎪ ⎨ ⎪ ⎧ P A = Q V = ( P m a + P s r ) cos ( ω t ) + P v i sin ( ω t ) − 4 β e V t ω ∣ P v i ∣ cos ( ω t ) + ( A ⋅ ω X − 4 β e V t ω ∣ P m a ∣ + 4 β e V t ω ∣ P s r ∣ ) sin ( ω t ) ( 6 . 3 )
式(6.3)主要方便代码过程中变量进一步调用,更方便在已经求出了P m a P_{ma}P m a ,P s r P_{sr}P s r ,P v i P_{vi}P v i 后直接运算,避免过多编写新公式计算的代码。
⇒ { ∣ Q V ∣ = ( V t 4 β e A C ω 2 ) X 2 + ( A ⋅ ω − V t 4 β e A m ω 3 + V t 4 β e A K ω ) 2 X 2 ∠ Q V = = arctan Q c v i Q p i s + Q c m a + Q c s r = arctan ( − V t 4 β e A ω 2 C A ⋅ ω − V t 4 β e A m ω 3 + V t 4 β e A K ω ) (7) \tag{7}
\begin{aligned}
\Rightarrow
\left \{
\begin{matrix}
\left |Q_V\right | =&\sqrt
{
\color{red}(\cfrac{V_t}{4\beta_e A}C\omega^2)X^2+
{\color{blue}(A\cdot\omega-\cfrac{V_t}{4\beta_e A}m\omega^3 +\cfrac{V_t}{4\beta_e A}K\omega)^2X^2}
}\\
\angle Q_V=&=\arctan{\cfrac{Q_{cvi}}{Q_{pis}+Q_{cma}+ Q_{csr}}}=\arctan(\cfrac
{\color{red}-\cfrac{V_t}{4\beta_e A}\omega^2 C}
{\color{blue}A\cdot\omega-\cfrac{V_t}{4\beta_e A}m\omega^3 +\cfrac{V_t}{4\beta_e A}K\omega})
\end{matrix}
\right.
\end{aligned}
⇒ ⎩ ⎪ ⎪ ⎪ ⎪ ⎪ ⎪ ⎪ ⎪ ⎨ ⎪ ⎪ ⎪ ⎪ ⎪ ⎪ ⎪ ⎪ ⎧ ∣ Q V ∣ = ∠ Q V = ( 4 β e A V t C ω 2 ) X 2 + ( A ⋅ ω − 4 β e A V t m ω 3 + 4 β e A V t K ω ) 2 X 2 = arctan Q p i s + Q c m a + Q c s r Q c v i = arctan ( A ⋅ ω − 4 β e A V t m ω 3 + 4 β e A V t K ω − 4 β e A V t ω 2 C ) ( 7 )
上述流量是进入作动器的全部流量,也即流经伺服阀的流量,假定伺服阀全开的情况下,对应流量可根据公式得到:
Q V = Q A = P V P N Q N Q_V=Q_A=\sqrt{\frac{P_{V}}{P_N}}Q_{N}
Q V = Q A = P N P V Q N
进一步根据该流量可以得到流过伺服阀所需要的压差为:
P V = ( Q V Q N ) 2 P N P_{V}=(\frac{Q_V}{Q_{N}})^2P_N
P V = ( Q N Q V ) 2 P N
平方关系在伺服阀流量低于额定流量时,当高于相应频率下的额定流量时,该关系将由2次方升为3次方以提升性能估算的准确性。
由于Q V Q_VQ V 中为复数形式,平方后仍然为复数形式,且比较复杂不利于直接计算,但实际上在工作频率范围内,Q V Q_VQ V 的实部与虚部差异较大可以近似等效, 假定相角与Q V Q_VQ V 一致,即∠ P V = ∠ Q V \angle P_{V}=\angle Q_V∠ P V = ∠ Q V
⇒ { ∣ P V ∣ = ∣ Q V ∣ 2 Q N 2 P N = [ R e a l ( Q V ) ] 2 + [ I m a g e ( Q V ) ] 2 Q N 2 P N ∠ P V = ∠ Q V = arctan ( I m a g e ( Q V ) R e a l ( Q V ) ) (8) \begin{aligned}
\Rightarrow \tag{8}
\left \{
\begin{matrix}
\left |P_V\right | =\cfrac{\left | Q_V \right |^2}{Q_N^2}P_N=&\cfrac{[Real(Q_V)]^2+[Image(Q_V)]^2}{Q_N^2}P_N\\
\angle P_V=\angle Q_V=&\arctan(\cfrac{Image(Q_V)}{Real(Q_V)})
\end{matrix}
\right.
\end{aligned}
⇒ ⎩ ⎪ ⎪ ⎪ ⎨ ⎪ ⎪ ⎪ ⎧ ∣ P V ∣ = Q N 2 ∣ Q V ∣ 2 P N = ∠ P V = ∠ Q V = Q N 2 [ R e a l ( Q V ) ] 2 + [ I m a g e ( Q V ) ] 2 P N arctan ( R e a l ( Q V ) I m a g e ( Q V ) ) ( 8 )
⇒ P V = ∣ P V ∣ ( c o s ( ∠ P V ) + sin ( ∠ P V ) j ) (9) \Rightarrow P_V=\left |P_V\right |(cos(\angle P_V)+\sin(\angle P_V)j) \tag{9}
⇒ P V = ∣ P V ∣ ( c o s ( ∠ P V ) + sin ( ∠ P V ) j ) ( 9 )
应当指出,在上式的推导中,对伺服阀压力P V P_{V}P V 做了线性化的近似假设。因为根据上式的关系,流量Q V Q_VQ V 为频率ω正弦时,压力P V P_{V}P V 并不是正弦变化(下图红色实线所示)。此近似处理使得对压力P V P_{V}P V 的估计偏大(如下图蓝色虚线所示,峰值点和过零点除外),进而使整体性能估计略小。
判断该频率下最大速度及最大加速度是否能达到,只需要判断∣ P T o t a l ∣ = ∣ P V + P A ∣ ≤ P e \left |P_{Total} \right|=\left |P_V +P_A \right| \le P_{e}∣ P T o t a l ∣ = ∣ P V + P A ∣ ≤ P e 是否成立即可,其中:
⇒ { ∣ P T o t a l _ I m a g e ∣ = P V sin ( ∠ P V ) + P v i ∣ P T o t a l _ R e a l ∣ = P V cos ( ∠ P V ) + P m a + P s r (8) \begin{aligned}
\Rightarrow \tag{8}
\left \{
\begin{matrix}
\left |P_{{Total}\_Image}\right | =& P_V\sin(\angle P_V)+ P_{vi}\\
\left |P_{{Total}\_Real}\right | =& P_V\cos(\angle P_V)+P_{ma}+P{sr}\\
\end{matrix}
\right.
\end{aligned}
⇒ { ∣ ∣ ∣ P T o t a l _ I m a g e ∣ ∣ ∣ = ∣ ∣ ∣ P T o t a l _ R e a l ∣ ∣ ∣ = P V sin ( ∠ P V ) + P v i P V cos ( ∠ P V ) + P m a + P s r ( 8 )
根据经验,蓄能器补充的体积Δ V \Delta VΔ V 不超过自身5%,以一个频率为ω = 2 π f \omega=2\pi fω = 2 π f 正弦波运动周期为例,运动所需的最大流量为Q m a x = 90 L / m i n Q_{max}=90L/minQ m a x = 9 0 L / m i n ,而泵所提供的流量为Q p k = 80 L / m i n Q_{pk}=80L/minQ p k = 8 0 L / m i n ,每半个循环中需要蓄能器补充的油液体积即为下图中红色阴影部分的面积,认为一个周期的两个流量峰值之间可以对蓄能器进行充油,故第二个循环前认为可充满,而第二个循环认为是重复第一个循环,因此仅考虑半个周期内的蓄能器需要的补油量即可。
Δ V = ∫ t 1 t 2 Q m a x sin ( ω t ) − Q P k ( t 2 − t 1 ) ≤ 5 % V 0 = − Q m a x ω cos ( ω t ) ∣ t 1 t 2 − Q P k ( t 2 − t 1 ) = Q m a x ω ( cos ( ω t 1 ) − cos ( ω t 2 ) ) − Q P k ( t 2 − t 1 ) (10) \tag{10}
\begin{aligned}
\Delta V &= \int_{t_1}^{t_2}Q_{max}\sin(\omega t)-Q_{Pk}(t_2-t_1) \le 5\%V_0\\
&=-\frac{Q_{max}}{\omega}\cos(\omega t){\Big|_{t_1}^{t_2}}-Q_{Pk}(t_2-t_1)\\
&=\frac{Q_{max}}{\omega}(\cos(\omega t_1)-\cos(\omega t_2))-Q_{Pk}(t_2-t_1)
\end{aligned}
Δ V = ∫ t 1 t 2 Q m a x sin ( ω t ) − Q P k ( t 2 − t 1 ) ≤ 5 % V 0 = − ω Q m a x cos ( ω t ) ∣ ∣ ∣ ∣ t 1 t 2 − Q P k ( t 2 − t 1 ) = ω Q m a x ( cos ( ω t 1 ) − cos ( ω t 2 ) ) − Q P k ( t 2 − t 1 ) ( 1 0 )
根据下图右所示
cos ( ω t 1 ) = Q r Q m a x = Q m a x 2 − Q p k 2 Q m a x = − cos ( ω t 2 ) (11) \tag{11}
\cos (\omega t_1)=\frac{Q_r}{Q_{max}}=\frac{\sqrt{Q_{max}^2-Q_{pk}^2}}{Q_{max}} = -\cos(\omega t_2)
cos ( ω t 1 ) = Q m a x Q r = Q m a x Q m a x 2 − Q p k 2 = − cos ( ω t 2 ) ( 1 1 )
已知Q m a x Q_{max}Q m a x 和Q p k Q_{pk}Q p k 可算出来t 1 t_1t 1 和t 2 t_2t 2
{ t 1 = arcsin ( Q p k Q m a x ) ω t 2 = π / ω − t 1 \begin{aligned}
\left \{
\begin{matrix}
t_1 &= \cfrac{\arcsin(\cfrac{Q_{pk}}{Q_{max}})}{\omega}\\
t_2 &= \pi/\omega-t_1
\end{matrix}
\right.
\end{aligned}
⎩ ⎪ ⎪ ⎪ ⎨ ⎪ ⎪ ⎪ ⎧ t 1 t 2 = ω arcsin ( Q m a x Q p k ) = π / ω − t 1
引入一个中间变量θ \thetaθ ,如下图右侧所示:
Δ t = t 2 − t 1 = 2 θ ω = 2 arccos ( Q p k Q m a x ) ω (12) \tag{12}
\Delta t=t_2-t_1=\frac{2\theta }{\omega}=\frac{2\arccos(\cfrac{Q_{pk}}{Q_{max}}) }{\omega}
Δ t = t 2 − t 1 = ω 2 θ = ω 2 arccos ( Q m a x Q p k ) ( 1 2 )
结合式10,11,12得到:
Δ V = Q m a x ω ( cos ( ω t 1 ) − cos ( ω t 2 ) ) − Q P k ( t 2 − t 1 ) = Q m a x ω ( 2 cos ( ω t 1 ) ) − Q p k 2 arccos ( Q p k Q m a x ) ω = 2 ω ( Q m a x 2 − Q p k 2 − Q p k arccos ( Q p k Q m a x ) ) (13) \tag{13}
\begin{aligned}
\Delta V &=\frac{Q_{max}}{\omega}(\cos (\omega t_1)-\cos (\omega t_2))-Q_{Pk}(t_2-t_1)\\
&=\frac{Q_{max}}{\omega}(2\cos (\omega t_1))-\frac{Q_{pk}2\arccos (\cfrac{Q_{pk}}{Q_{max}})}{\omega}\\
&=\frac{2}{\omega}(\sqrt{Q_{max}^2-Q_{pk}^2}-Q_{pk}\arccos (\cfrac{Q_{pk}}{Q_{max}}))
\end{aligned}
Δ V = ω Q m a x ( cos ( ω t 1 ) − cos ( ω t 2 ) ) − Q P k ( t 2 − t 1 ) = ω Q m a x ( 2 cos ( ω t 1 ) ) − ω Q p k 2 arccos ( Q m a x Q p k ) = ω 2 ( Q m a x 2 − Q p k 2 − Q p k arccos ( Q m a x Q p k ) ) ( 1 3 )
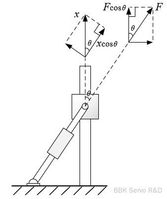
当作动器出力F FF 的方向与加载对象的运行方向x xx 呈现θ \thetaθ 角后,x xx 方向直接推动力F cos θ F\cos\thetaF cos θ 将随着θ \thetaθ 角增大而减少,同时加载对象沿运动方向运动所需要作动器的位移x cos θ x\cos\thetax cos θ 也会减少,从而出现系统位移性能大于作动器位移性能。
以被加载对象的运动方向x xx 列压力与流量方程:
{ ( F a c t u a t o r − m r o d x ¨ a c t u a t o r − m a n c i l l a r y x ¨ a c t u a t o r ) cos θ = m x ¨ + C x ˙ + K x Q A = V t 4 β e P A ˙ + A x ˙ cos θ x ¨ a c t u a t o r = x ¨ cos θ (14) \tag{14}
\begin{aligned}
\left \{
\begin{matrix}
(F_{actuator}-m_{rod}\ddot{x}_{actuator}-m_{ancillary}\ddot{x}_{actuator})\cos\theta&=m\ddot{x} +C\dot{x} +Kx&\\
Q_A=\cfrac{V_t}{4\beta_e}\dot{P_A}+A\dot{x}\cos\theta\\
\ddot{x}_{actuator}=\ddot{x}\cos\theta
\end{matrix}
\right.
\end{aligned}
⎩ ⎪ ⎪ ⎪ ⎨ ⎪ ⎪ ⎪ ⎧ ( F a c t u a t o r − m r o d x ¨ a c t u a t o r − m a n c i l l a r y x ¨ a c t u a t o r ) cos θ Q A = 4 β e V t P A ˙ + A x ˙ cos θ x ¨ a c t u a t o r = x ¨ cos θ = m x ¨ + C x ˙ + K x ( 1 4 )
将x ¨ a c t u a t o r = x ¨ cos θ \ddot{x}_{actuator}=\ddot{x}\cos\thetax ¨ a c t u a t o r = x ¨ cos θ 以及F a c t u a t o r = P A A F_{actuator}=P_AAF a c t u a t o r = P A A 带入进一步整理得到:
{ ( P A ⋅ A − m r o d x ¨ cos θ − m a n c i l l a r y x ¨ cos θ ) cos θ = m x ¨ + C x ˙ + K x Q A = V t 4 β e P A ˙ + A x ¨ cos θ \begin{aligned}
\left \{
\begin{matrix}
(P_A\cdot A -m_{rod}\ddot{x}\cos\theta-m_{ancillary}\ddot{x}\cos\theta)\cos\theta&=m\ddot{x} +C\dot{x} +Kx &\\
Q_A=\cfrac{V_t}{4\beta_e}\dot{P_A}+A\ddot{x}\cos\theta
\end{matrix}
\right.
\end{aligned}
⎩ ⎪ ⎨ ⎪ ⎧ ( P A ⋅ A − m r o d x ¨ cos θ − m a n c i l l a r y x ¨ cos θ ) cos θ Q A = 4 β e V t P A ˙ + A x ¨ cos θ = m x ¨ + C x ˙ + K x
拉氏变换后
{ P A ( s ) A = ( m cos θ s 2 + C cos θ s + K cos θ K + m r o d s 2 cos θ + m a n c i l l a r y s 2 cos θ ) X ( s ) Q A ( s ) = V t 4 β e P A ( s ) s + A X ( s ) cos θ s (15) \tag{15}
\begin{aligned}
\left \{
\begin{matrix}
P_A(s)A=({\color{red}\cfrac{m}{\cos\theta}s^2+\cfrac{C}{\cos\theta}s+\cfrac{K}{\cos\theta}K}+{\color{magenta}m_{rod}s^2\cos\theta+m_{ancillary}s^2\cos\theta})X(s) \\
Q_A(s)=\cfrac{V_t}{4\beta_e}P_A(s)s+A X(s)\cos\theta s
\end{matrix}
\right.
\end{aligned}
⎩ ⎪ ⎪ ⎪ ⎨ ⎪ ⎪ ⎪ ⎧ P A ( s ) A = ( c o s θ m s 2 + c o s θ C s + c o s θ K K + m r o d s 2 c o s θ + m a n c i l l a r y s 2 c o s θ ) X ( s ) Q A ( s ) = 4 β e V t P A ( s ) s + A X ( s ) cos θ s ( 1 5 )
移项合并后:
⇒ { P A ( s ) A X ( s ) = ( m cos θ + m r o d cos θ + m a n c i l l a r y cos θ ) s 2 + C cos θ s + K cos θ K Q A ( s ) = V t 4 β e P A ( s ) s + A X ( s ) cos θ s (15.1) \tag{15.1}
\begin{aligned}
\Rightarrow
\left \{
\begin{matrix}
\cfrac{P_A(s)A}{X(s)}=({\color{red}\cfrac{m}{\cos\theta}}+{\color{magenta}m_{rod}\cos\theta+m_{ancillary}\cos\theta})s^2+
\cfrac{C}{\cos\theta}s+\cfrac{K}{\cos\theta}K \\
Q_A(s)=\cfrac{V_t}{4\beta_e}P_A(s)s+A X(s)\cos\theta s
\end{matrix}
\right.
\end{aligned}
⇒ ⎩ ⎪ ⎪ ⎪ ⎨ ⎪ ⎪ ⎪ ⎧ X ( s ) P A ( s ) A = ( c o s θ m + m r o d c o s θ + m a n c i l l a r y c o s θ ) s 2 + cos θ C s + cos θ K K Q A ( s ) = 4 β e V t P A ( s ) s + A X ( s ) cos θ s ( 1 5 . 1 )
在ACE5代码中,以X ^ ( s ) = X ( s ) cos θ \hat{X}(s)=X(s)\cos\thetaX ^ ( s ) = X ( s ) cos θ 为一个整体进行分析,即Payload、Spring、Viscous均进行了角度处理。
{ P A ( s ) A X ^ ( s ) = ( m 2 θ + m r o d + m a n c i l l a r y ) s 2 + C 2 θ s + K 2 θ K Q A ( s ) = V t 4 β e P A ( s ) s + A X ^ ( s ) s (16) \tag{16}
\begin{aligned}
\left \{
\begin{matrix}
\cfrac{P_A(s)A}{\hat{X}(s)}=({\color{red}\cfrac{m}{\cos^2\theta}}+{\color{magenta}m_{rod}+m_{ancillary}})s^2+
\cfrac{C}{\cos^2\theta}s+\cfrac{K}{\cos^2\theta}K \\
Q_A(s)=\cfrac{V_t}{4\beta_e}P_A(s)s+A \hat{X}(s)s
\end{matrix}
\right.
\end{aligned}
⎩ ⎪ ⎪ ⎪ ⎨ ⎪ ⎪ ⎪ ⎧ X ^ ( s ) P A ( s ) A = ( c o s 2 θ m + m r o d + m a n c i l l a r y ) s 2 + cos 2 θ C s + cos 2 θ K K Q A ( s ) = 4 β e V t P A ( s ) s + A X ^ ( s ) s ( 1 6 )
式(16)与式(4.1)一致,后续求得满足压力及流量需求的∣ X ^ ∣ \left |\hat{X}\right |∣ ∣ ∣ ∣ X ^ ∣ ∣ ∣ ∣ 后,进一步通过∣ X ∣ = ∣ X ^ ∣ cos θ \left |X\right |=\cfrac{\left |\hat{X}\right |}{\cos\theta}∣ X ∣ = cos θ ∣ ∣ ∣ ∣ X ^ ∣ ∣ ∣ ∣ 即可得到系统在不同频率下的运动振幅范围,这样有一个好处,只需要对所有运动部分进行等效即可,等效因子为1 2 θ \cfrac{1}{\cos^2\theta}cos 2 θ 1 ,之后再将得到振动幅值还原,还原因子为1 cos θ \cfrac{1}{\cos\theta}cos θ 1 。
实际上也可以不通过转换X ^ \hat{X}X ^ 也可以实现,在式(15.1)中,对所有的运动因素等效,等效因子为1 cos θ \cfrac{1}{\cos\theta}cos θ 1 ,作动器及附件质量按等效因子为cos θ \cos\thetacos θ ,作动器等效部分也包括了作动器运动流量部分,即式15.1的第二部分的cos θ \cos\thetacos θ ,由此得到的结果与∣ X ^ ∣ \left |\hat{X}\right |∣ ∣ ∣ ∣ X ^ ∣ ∣ ∣ ∣ 等效的方式结果是一致的。
最大位移时角度θ \thetaθ 与起始位置已发生了变化,当最大位移的估计有一定的准确性偏差。
关于之前文档提及ACE5计算未考虑运动的分解,应该理解是考虑过的式(16)中X ^ \hat{X}X ^ 的方法。
作动器型号确定后即额定最大出力也就确定了,通常所谓的75-80%的最大出力作为作动器的动态力,即直接推动加载对象形成加速度的力。该值仅为经验值,准确的值可根据流量压力坐标图分析得到,但需要确定系统负载的阻尼、负载前端刚度、工作频率(油液的可压缩性导致油柱共振频率后,高频阶段时的油液可压缩性大幅增加了流经伺服阀的流量而带来额外的压降),上述因素的大小影响伺服阀上流量与活塞压差力的相位角发生变化,导致系统的性能在中高频段存在一定的衰减,实际上衰减并非特定的比例,但通常在工作频率内,取80%的经验值,但在进入油柱共振频率衰减前的阶段,当系统阻尼较小且负载后端的刚度不大时,加速度几乎能达到最大出力与运动质量的比值,如下表的40-80Hz频率区间。
Frequency ( Hz )
Acc ( g )
P_Acc ( bar)
P_Spring (bar)
P_Viscous (bar)
Qpiston (LPM)
Q_cma (LPM)
Q_csr (LPM)
Q_cvi (LPM)
Qcabs (LPM)
Pcimg (bar)
Pcreal (bar)
P_Total_Img (bar)
P_Total_Real (bar)
P_total (bar)
P_acc/P_total ( % )
20
6.83
-151.93
0.04
5.51
309.72
-32.19
0.01
-1.17
309.73
133.11
-0.5
138.62
-152.39
206.01
73.75%
30
8.5
-189
0.02
4.57
256.86
-60.06
0.01
-1.45
256.87
75.93
-0.43
80.5
-189.41
205.8
91.84%
40
8.97
-199.54
0.01
3.62
203.39
-84.55
0.01
-1.53
203.4
46.33
-0.35
49.95
-199.88
206.02
96.85%
60
9.18
-204.19
0.01
2.47
138.75
-129.78
0
-1.57
138.77
21.57
-0.24
24.03
-204.43
205.84
99.20%
80
8.89
-197.7
0
1.79
100.76
-167.53
0
-1.52
167.54
-50.63
-0.46
-48.83
-198.16
204.08
96.87%
100
7.64
-169.97
0
1.23
69.3
-180.05
0
-1.31
180.05
-116.34
-0.84
-115.11
-170.81
205.98
82.52%
120
5.47
-121.72
0
0.74
41.35
-154.72
0
-0.94
154.72
-166.09
-1
-165.35
-122.72
205.92
59.11%
150
3.06
-68.12
0
0.33
18.51
-108.23
0
-0.52
108.23
-194.39
-0.94
-194.06
-69.06
205.99
33.07%
200
1.36
-30.25
0
0.11
6.17
-64.1
0
-0.23
64.1
-203.64
-0.74
-203.53
-30.99
205.88
14.70%
该功能主要是用于热处理材料试验机(TMTS,Thermo Meterial Test Simulator)中性能预测,将其中一部分分配给材料变形所需要的力(% Full Load Curve)的比例,剩余部分用于进行运动推力时所能达到的性能。
该参数表征用于分配给材料变形所需要的力占作动器动态推力的比值系数。
P s r = K 100 ⋅ 155 210 ⋅ P S u p p l y = 0.74 K 100 ⋅ P S u p p l y (17) \tag{17}
P_{sr}=\frac{K}{100}\cdot \frac{155}{210} \cdot P_{Supply}=0.74\frac{K}{100}\cdot P_{Supply}
P s r = 1 0 0 K ⋅ 2 1 0 1 5 5 ⋅ P S u p p l y = 0 . 7 4 1 0 0 K ⋅ P S u p p l y ( 1 7 )
K最高为125%,表示接近于92%的系统最大推力用于材料变形,剩余部分用于加速,需要说明的是,在进行该项分析时,系统Payload必须设为零,只有Ancillary和Rod Mass作为动态质量。
由于用于克服材料刚度的推力时恒定的,因此刚度实际上是动态变化的,即ACE5中不同频率计算出来的结果中对应的样品刚度是不同的,如果刚度不满足需要进一步提高Full Load Curve的百分占比。
以上图设置为例,125%的最大推力为F D e f = P s r ⋅ A = 125 100 ⋅ 155 210 ⋅ 280 ⋅ 120 155 = 200 k N F_{Def}=P_{sr}\cdot A=\cfrac{125}{100}\cdot \cfrac{155}{210} \cdot 280 \cdot \cfrac{120}{155}= 200kNF D e f = P s r ⋅ A = 1 0 0 1 2 5 ⋅ 2 1 0 1 5 5 ⋅ 2 8 0 ⋅ 1 5 5 1 2 0 = 2 0 0 k N ,当进行5Hz试验,达到结果中位移振幅A m p = S t r o k e 2 = 111.92 / 2 = 55.96 m m Amp=\cfrac{Stroke}{2}=111.92/2=55.96mmA m p = 2 S t r o k e = 1 1 1 . 9 2 / 2 = 5 5 . 9 6 m m 时所能完成试验的样品的最大刚度为K s a m p l e = 200 55.96 = 3.57 k N / m m K_{sample}=\cfrac{200}{55.96}=3.57 kN/mmK s a m p l e = 5 5 . 9 6 2 0 0 = 3 . 5 7 k N / m m ,同理在20Hz时,所能完成试验时样品最大刚度为K s a m p l e = 200 25.6 / 2 = 15.62 k N / m m K_{sample}=\cfrac{200}{25.6/2}=15.62 kN/mmK s a m p l e = 2 5 . 6 / 2 2 0 0 = 1 5 . 6 2 k N / m m 。
⇒ { Δ P 1 = β e Δ V 1 V 1 Δ P 2 = β e Δ V 2 V 2 (18) \Rightarrow \tag{18}
\left \{
\begin{matrix}
\Delta P_1=\beta_e \cfrac{\Delta V_1}{V_1} \\
\Delta P_2=\beta_e \cfrac{\Delta V_2}{V_2}
\end{matrix}
\right.
⇒ ⎩ ⎪ ⎪ ⎪ ⎨ ⎪ ⎪ ⎪ ⎧ Δ P 1 = β e V 1 Δ V 1 Δ P 2 = β e V 2 Δ V 2 ( 1 8 )
对于双出杆作动器,当向右运动时,− Δ V 1 = Δ V 2 = Δ V = Δ x A P -\Delta V_1=\Delta V_2=\Delta V=\Delta x A_P− Δ V 1 = Δ V 2 = Δ V = Δ x A P ,V 1 = V 2 = 1 2 V t V_1=V_2=\frac{1}{2}V_tV 1 = V 2 = 2 1 V t ,则:
⇒ P A = Δ P 1 − Δ P 2 = 4 β e Δ V V t \Rightarrow P_A=\Delta P_1-\Delta P_2=4\beta_e \frac{\Delta V}{V_t}
⇒ P A = Δ P 1 − Δ P 2 = 4 β e V t Δ V
⇒ Δ V = V t P A 4 β e ⇒ Δ V Δ t = V t P A 4 β e Δ t \Rightarrow \Delta V= \frac{V_t P_A}{4\beta_e}
\Rightarrow \frac{\Delta V}{\Delta t} = \frac{V_t P_A }{4\beta_e \Delta t}
⇒ Δ V = 4 β e V t P A ⇒ Δ t Δ V = 4 β e Δ t V t P A
⇒ Q = V t 4 β e P A ˙ (19) \tag{19}
\Rightarrow Q = \frac{V_t}{4\beta_e}\dot{P_A}
⇒ Q = 4 β e V t P A ˙ ( 1 9 )
即由于压缩产生的流量与两腔压力差的微分成正比关系,高频的压力波动会产生非常大流量,这在一定程度上衰减了高频段的作动器性能。
Q ( s ) P A ( s ) = V t 4 β e s \frac{Q(s)}{P_A(s)}=\cfrac{V_t}{4\beta_e}s
P A ( s ) Q ( s ) = 4 β e V t s
油液的可压缩性带来两个方面的影响:
液压油本身类似弹簧的作用,作动器与加载对象组合成系统的时候,作为力传递介质的同时也是弹性的弹簧。
高频高压(高频大性能)运行过程中,压力高且变换速率快,作动器腔体中油液体积变换也快,这些液压油体积变化体现出来的流量是需要经过伺服阀提供,流量经过伺服阀的同时需要产生压差,这也在一定程度上的降低了在高频段的性能。
根据式(18),左右两腔压力变换Δ P \Delta PΔ P 与Δ x \Delta xΔ x 相反。
由于Δ x \Delta xΔ x 为矢量,P 1 P_1P 1 为右腔,即位移正向移动时,该腔受压缩,Δ P 1 \Delta P_1Δ P 1 为正,而另一腔则相反。
F = A ⋅ ( Δ P 1 − Δ P 2 ) F=A\cdot(\Delta P_1 -\Delta P_2)
F = A ⋅ ( Δ P 1 − Δ P 2 )
F = A ⋅ ( β e A 1 Δ x V 1 + β e A 2 Δ x V 2 ) F=A\cdot(\beta_e \frac{A_1\Delta x}{V_1} +\beta_e \frac{A_2\Delta x}{V_2})
F = A ⋅ ( β e V 1 A 1 Δ x + β e V 2 A 2 Δ x )
由于双出杆作动器,A 1 = A 2 = A A_1=A_2=AA 1 = A 2 = A ,V 1 = V 2 = 1 2 V t V_1=V_2=\frac{1}{2}V_tV 1 = V 2 = 2 1 V t ,则:
F = A ⋅ ( β e A Δ x 1 2 V t + β e A Δ x 1 2 V t ) = 4 β e A 2 Δ x V t F=A\cdot(\beta_e \frac{A\Delta x}{\frac{1}{2}V_t} +\beta_e \frac{A\Delta x}{\frac{1}{2}V_t})= \frac{4\beta_e A ^2\Delta x}{V_t}
F = A ⋅ ( β e 2 1 V t A Δ x + β e 2 1 V t A Δ x ) = V t 4 β e A 2 Δ x
则液压油等效刚度K o i l K_{oil}K o i l 为:
K o i l = F Δ x = 4 β e A 2 V t (20.1) \tag{20.1}
K_{oil}=\frac{F}{\Delta x}=\frac{4\beta_e A ^2}{V_t}
K o i l = Δ x F = V t 4 β e A 2 ( 2 0 . 1 )
进一步根据弹簧质量系统得到:
ω = K o i l m = 4 β e A 2 V t m (20.2) \tag{20.2}
\omega =\sqrt{\cfrac{K_{oil}}{m}} =\sqrt{\cfrac{4\beta_e A ^2}{V_tm}}
ω = m K o i l = V t m 4 β e A 2 ( 2 0 . 2 )
其中β e \beta_eβ e 为体积模量,通常为1200~1400 MPa,A AA 为有效面积,V t V_tV t 为作动器总容腔体积,包含活塞腔、长条阀块腔体、三级阀后腔。
以125-100-150配合SV500-19三级阀为例,V t V_tV t =1.756L,A AA =9675m m 2 mm^2m m 2 ,带入式(2)得到,
K o i l = 4 × 1380 × ( 9675 / 1 0 6 ) 2 1.756 × 1 0 − 3 = 294.25 k N / m m K_{oil}=\frac{4 \times 1380\times (9675/10^6)^2 }{1.756\times 10^{-3}}=294.25 kN/mm
K o i l = 1 . 7 5 6 × 1 0 − 3 4 × 1 3 8 0 × ( 9 6 7 5 / 1 0 6 ) 2 = 2 9 4 . 2 5 k N / m m
结合ACE5中计算的总质量2094.86kg,则油柱共振频率(固有频率)为:
F O C R = K o i l m 1 2 π = 4 β e A 2 V t m 1 2 π = 294.25 × 1 0 6 2094.86 1 2 π = 59.65 H z F_{OCR}=\sqrt{\cfrac{K_{oil}}{m}} \frac{1}{2\pi}=\sqrt{\cfrac{4\beta_e A ^2}{V_tm}}\frac{1}{2\pi}=\sqrt{\cfrac{294.25\times 10^6}{2094.86}} \frac{1}{2\pi}=59.65 Hz
F O C R = m K o i l 2 π 1 = V t m 4 β e A 2 2 π 1 = 2 0 9 4 . 8 6 2 9 4 . 2 5 × 1 0 6 2 π 1 = 5 9 . 6 5 H z
根据等式(6.2),当频率升高后,Q p i s Q_{pis}Q p i s 逐渐减小,而Q c m a Q_{cma}Q c m a 逐步升高,当两者数值相等,相位相反时,即
{ Q p i s = A X ω j Q c m a = − V t 4 β e A m X ω 3 j = P m a V t 4 β e ω j \begin{aligned}
\left \{
\begin{matrix}
Q_{pis} =& AX\omega j\\
Q_{cma} =& -\cfrac{V_t}{4\beta_e A}mX\omega^3j =P_{ma}\cfrac{V_t}{4\beta_e}\omega j\
\end{matrix}
\right.
\end{aligned}
⎩ ⎪ ⎨ ⎪ ⎧ Q p i s = Q c m a = A X ω j − 4 β e A V t m X ω 3 j = P m a 4 β e V t ω j
A X ω = V t 4 β e A m X ω 3 AX\omega =\cfrac{V_t}{4\beta_e A}mX\omega^3
A X ω = 4 β e A V t m X ω 3
得到ω = 4 β e A 2 V t m \omega=\sqrt{\cfrac{4\beta_e A ^2}{V_tm}}ω = V t m 4 β e A 2 ,与式(3.2一致),按照理论计算,Q p i s Q_{pis}Q p i s 与Q c m a Q_{cma}Q c m a 相位相反,所需要的流量非常小,处于保守考虑,高于油柱频率后,将进行矢量相加,而采用单侧Q c m a + Q c s r Q_{cma}+Q_{csr}Q c m a + Q c s r 来作为流量的需求,降低性能的预期。
预充压力P 0 = 225 b a r P_0=225barP 0 = 2 2 5 b a r ,V 0 = 5 L V_0=5LV 0 = 5 L ,考虑试验开始前上压P 1 = 280 b a r P_1=280barP 1 = 2 8 0 b a r 后持续时间已较长,认为此过程为等温过程,即:
V 1 = P 0 V 0 P 1 = 225 ∗ 5 280 = 4.018 L V_1=\frac{P_0V_0}{P_1}=\frac{225*5}{280}=4.018L
V 1 = P 1 P 0 V 0 = 2 8 0 2 2 5 ∗ 5 = 4 . 0 1 8 L
存储的高压油体积为V 0 − V 1 = 0.982 L V_0-V_1=0.982LV 0 − V 1 = 0 . 9 8 2 L
而当高压工作过程中,流量补偿时释放过程较快,可认为为隔热过程,当释放油液体积为Δ V = 5 % V 0 = 0.25 L \Delta V=5\%V_0=0.25LΔ V = 5 % V 0 = 0 . 2 5 L
V 2 = V 1 + Δ V = 4.018 + 0.25 = 4.268 L V_2=V1+\Delta V=4.018+0.25=4.268 L
V 2 = V 1 + Δ V = 4 . 0 1 8 + 0 . 2 5 = 4 . 2 6 8 L
⇒ P 2 = P 1 ( V 1 V 2 ) 1.4 = 280 ⋅ ( 4.018 4.268 ) 1.4 = 257.3 b a r \Rightarrow P_2=P_1 (\cfrac{V_1}{V_2})^{1.4}=280\cdot (\cfrac{4.018}{4.268})^{1.4}=257.3bar
⇒ P 2 = P 1 ( V 2 V 1 ) 1 . 4 = 2 8 0 ⋅ ( 4 . 2 6 8 4 . 0 1 8 ) 1 . 4 = 2 5 7 . 3 b a r
考虑到回油5bar的作用,此时的压力与初始压力280bar比值约为90%,可近似理解对系统的性能影响可以忽略。[待确认]
实际上反推,当以等温冲上来的油液,再以隔热条件再完全释放到相同压力时,能释放的油液体积要小很多。
V 2 = ( P 1 P 0 ) 1 / 1.4 V 1 = ( P 1 P 0 ) 1 / 1.4 P 0 V 0 P 1 = ( P 0 P 1 ) 0.2857 V 0 = 0.9211 V 0 V_2=(\frac{P_1}{P_0})^{1/1.4}V_1=(\frac{P_1}{P_0})^{1/1.4}\frac{P_0V_0}{P_1}=(\frac{P_0}{P_1})^{0.2857}V_0=0.9211V_0
V 2 = ( P 0 P 1 ) 1 / 1 . 4 V 1 = ( P 0 P 1 ) 1 / 1 . 4 P 1 P 0 V 0 = ( P 1 P 0 ) 0 . 2 8 5 7 V 0 = 0 . 9 2 1 1 V 0
V 2 < V 0 V_2<V_0V 2 < V 0 即表明高压油没有全部放出去,具体释放的体积为:
而之前已经存储的高压油为:
V 0 − V 1 = 0.75 V 0 V_0-V_1=0.75V_0
V 0 − V 1 = 0 . 7 5 V 0
带入上述初始参数后:
Δ V = V 2 − V 1 = ( ( P 0 P 1 ) ( 1 − 1 1.4 ) − P 0 P 1 ) V 0 = 17.11 % V 0 \Delta V=V_2-V_1=((\cfrac{P_0}{P_1})^{(1-\frac{1}{1.4})}-\cfrac{P_0}{P_1})V_0=17.11\%V_0
Δ V = V 2 − V 1 = ( ( P 1 P 0 ) ( 1 − 1 . 4 1 ) − P 1 P 0 ) V 0 = 1 7 . 1 1 % V 0
或者全部释放释放体积后V 2 = V 0 V_2=V_0V 2 = V 0 ,蓄能器压力为:
⇒ P 2 _ L i m i t = P 1 ( V 1 V 2 ) 1.4 = P 1 ( V 1 V 0 ) 1.4 = 187 b a r \Rightarrow P_{2\_Limit}=P_1 (\cfrac{V_1}{V_2})^{1.4}=P_1 (\cfrac{V_1}{V_0})^{1.4}= 187bar
⇒ P 2 _ L i m i t = P 1 ( V 2 V 1 ) 1 . 4 = P 1 ( V 0 V 1 ) 1 . 4 = 1 8 7 b a r
这也解释了实际试验过程中,最大速度试验时,蓄能器放油到最后阶段比预充压力还低的情况。
clc;clear;close all;
V0 = 910;%L
P0 = 260; %bar
P1 = 340;
V1 = V0*P0/P1;
dV = 0.1 * V0;
V2 = dV + V1;
P2 = P1*(V1/V2)^1.4;
%% 假定放到压力为P0时:
V2_Limit = (P1/P0)^(1/1.4)*(P0/P1)*V0;
Delta_V = V2_Limit- V1;
DeltaV_percent = Delta_V/V0;
DeltaV_percent2=(P0/P1)^(1-1/1.4)-P0/P1;
%DeltaV_percent2 should equal to DeltaV_percent
%% 假定压力油全部放完,比如此时系统供油完全切到了,蓄能器放到V2=V0时:
P2_Limit = P1*(V1/V0)^1.4;%理论计算为233bar
液压缸固有频率的研究_刘玉波